Aerospace Engineering Gate Yearwise
Aerospace Gate 2024
Aerospace Gate 2023
Aerospace Gate 2022
Aerospace Gate 2021
Aerospace Gate 2020
Aerospace Gate 2019
Aerospace Gate 2018
Aerospace Gate 2017
Aerospace Gate 2016
Aerospace Gate 2015
Aerospace Gate 2014
Aerospace Gate 2013
Aerospace Gate 2012
Aerospace Gate 2011
Aerospace Gate 2010
Aerospace Gate 2009
Aerospace Engineering Gate 2013 Questions with Answer
Ques 27 GATE 2013
The idealized cross-section of a beam is comprised of four identical booms connected by shear webs. The beam is subjected to a bending moment M as shown in the figure. The inclination of the neutral axis to the x-axis in degrees is

Ques 28 GATE 2013
A composite circular shaft is comprised of a steel core surrounded by an aluminum annulus, perfectly bonded to each other as shown in the figure. If it subjected to a pure torque, which one of the following statements is TRUE?

Ques 29 GATE 2013
A horizontal rectangular plate ABCD is hinged at points A, B and C. AC and BD are diagonals of the plate. Downward force P is applied at D. The upward reactions RA, RB, and RC at points A, B and C, respectively, are
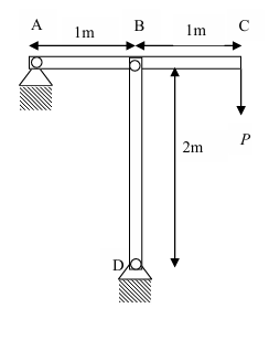
Ques 30 GATE 2013
In the steel structure (Young's modulus =200 GPa) shown in the figure, all members have a circular cross-section of radius 10 mm. Column BD is pinned at B and D. The support at A is hinged. The minimum value of load P at which the column BD may buckle in Newtons is approximately

Ques 31 GATE 2013
The thin rectangular plate has dimensions L×b×t. It develops a stress field corresponding to an applied bending moment M as shown in the figure. A valid Airy's stress function is

Ques 32 GATE 2013
A cantilever beam of negligible mass is 0.6 m long. It has a rectangular cross-section of width 8 mm and thickness 6 mm and carries a tip mass of 1.4 kg. If the natural frequency of this system is 10 rad/s, Young's modulus of the material of the beam in GPa is
Ques 33 GATE 2013
A simply supported beam with overhang is loaded by uniformly distributed load of intensity q as shown in the figure. The bending moment at the mid-point of AB is

Ques 34 GATE 2013
Following table gives data on tourists from different countries visiting India in the year 2011.

Ques 35 GATE 2013
The directional derivative of the function f(x,y)=(x2+xy2)/√5; in the direction a→=2î-4ĵ at (x,y)=(1,1) is
Ques 36 GATE 2013
The value of ∫45(x+2)/(x2+4x-21)dx is
Ques 37 GATE 2013
At x=0, the function y=|x| is
Ques 38 GATE 2013
One of the eigenvectors of the matrix

Ques 39 GATE 2013
Let I=∫∫S(y2zî+z2xĵ+x2yk̂)·(xî+yĵ+zk̂)dS where S denotes the surface of the sphere of unit radius centered at the origin. Here î,ĵ and k̂ denote three orthogonal unit vectors. The value of I is
Total Unique Visitors