Mechanical Engineering > GATE 2013 SET-3 > Riveted Joints
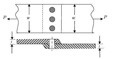
A single riveted lap joint of two similar plates has the following geometrical and material details:
width of the plate w = 200 mm, thickness of the plate t = 5 mm, number of rivets n = 3, diameter of the rivet dr = 10 mm, diameter of the rivet hole dh = 11 mm, allowable tensile stress of the plate ฯp = 200 MPa, allowable shear stress of the rivet ฯs = 100 MPa and allowable bearing stress of the rivet ฯc = 150 MPa.
If the plates are to be designed to avoid tearing failure, the maximum permissible load P in kN is

If the plates are to be designed to avoid tearing failure, the maximum permissible load P in kN is
Correct : c
Similar Questions
A single riveted lap joint of two similar plates has the following geometrical and material details: width of the plate w = 200 mm, thickness of the plate t = 5...
A single riveted lap joint of two similar plates has the following geometrical and material details: width of the plate w = 200 mm, thickness of the plate t = 5...
A single riveted lap joint of two similar plates has the following geometrical and material details: width of the plate w = 200 mm, thickness of the plate t = 5...
Total Unique Visitors
Loading......